- НаличиеВ наличии
Армированные покрышки ПВЭ предназначены для надёжной изоляции токоведущих частей элегазовых выключателей высокого напряжения. Они обеспечивают безопасную эксплуатацию оборудования на энергетических объектах, подстанциях и в распределительных устройствах.
Изделия эффективно защищают от пробоя и короткого замыкания, повышая общую надёжность и бесперебойность работы энергосистем. Их применение позволяет значительно увеличить межремонтный интервал оборудования.
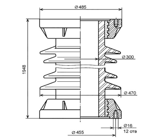
Покрышки отличаются высокими качественными характеристиками: устойчивостью к агрессивным средам, ультрафиолету, перепадам температур и механическим воздействиям. Доступны варианты с напряжением 110, 180, 220 кВ, силой на изгиб 10, 21.5, 55 и длиной пути утечки 300, 450, 580.
Мы предлагаем различные марки, включая ПВЭг-110 II, ПВЭг-180 II 0, ПВЭо-110 II 0, ПВЭо-220 II 0, что позволяет подобрать оптимальное решение для конкретных технических условий.
Нет отзывов об этом товаре.
Пока нет вопросов об этом товаре. Станьте первым!
